Description
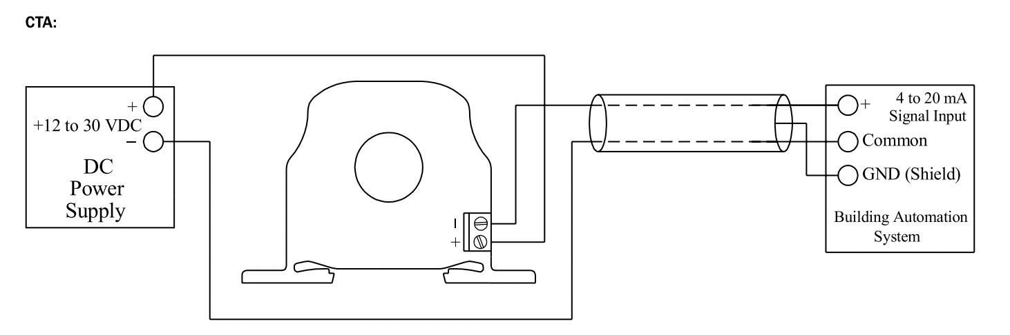
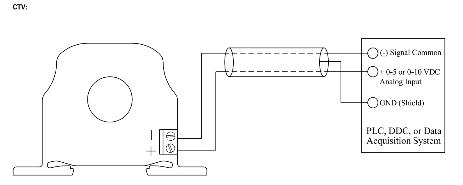
The CTA (Current Output – 4-20mA) /CTV (Voltage Output 0-10VDC) Series current sensors monitor the current flowing to electrical equipment or buildings.
The magnitude of this current is then converted into a linear 4…20 mA or 0…10Vdc output signal, which can be monitored by your Building Management, DDC, or PLC controller.
All of these sensors have jumper selectable input ranges.
These current sensors should be used in load trending (current monitoring) type applications.
The solid-core units are an excellent choice for new installations while the split-core versions are more suited to retrofit or existing installations.
The current sensors are fast-acting, reliable, and extremely easy to install.
No additional din rail mounting clips are necessary, due to the unique design of the integral din rail mounting flange.
All of these current sensors are factory calibrated using a NIST Traceable standard and shipped with the jumper placed in the largest jumper selectable range.
The CTA units must be externally powered using a +12 to 40 VDC power supply while the CTV is self-powered inducing the supply from the monitored conductor.
All of these current sensors come with a limited five-year factory warranty.
Specification
Power Supply: CTV – self-powered / CTE – +12…30Vdc
Output: CTV – 0…10Vdc, CTA – 4…20mA
Accuracy: ± 1%
Current Range: 0…250A (range as per code)
Frequency: 30…1kHz
Isolation Voltage: 1270Vac
Enclosure Size: Solid core – 58 x 86 x 25mm / Split core – 68 x 86 x 28mm
Enclosure Material: UL 94V – 0 flammability rated ABS
Conductor Hole Size: 19.8mm diameter
Operating Temperature: -15˚C to +40˚C
Certification: CE, UL and RoHS





Reviews
There are no reviews yet.